• ME14Z CMW
  • Sketch for ME14Z CMW

ME14Z CMW

Part #: 2-ME14Z

Request 3D Model

Request 3D Model


Male caps are a cost effective solution for automated environments because the caps can be changed quickly when the face wears out. The design has superior water flow properties compared to female caps. Thus, males are an ideal choice for high heat applications.

RMWA Class 1 (C15000) material - a copper zirconium material recommended for spot welding coated materials and highly conductive materials such as aluminum, magnesium alloys, brass and bronze.

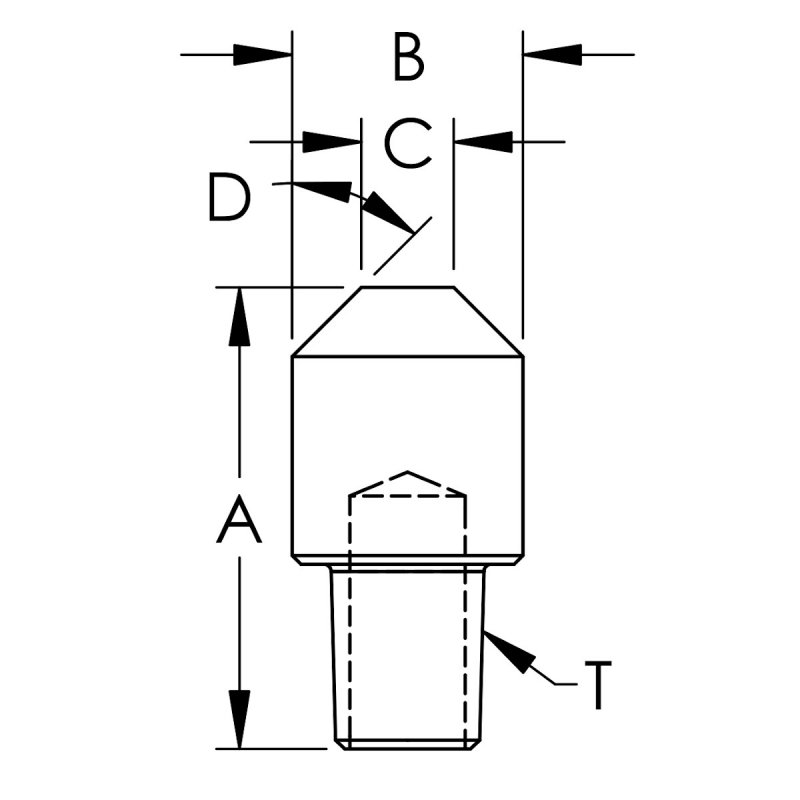
  • The overall length is 1.1250 IN
  • The outside diameter is 0.500 IN
  • The part mounts via a 4RW cap taper which is suitable for weld forces ranging between 200 to 800 pounds of force.
  • The E nose or Truncated face tip is an efficient design that does not trap weld flash on the face and may reduce mushrooming.
  • The weld face is 0.188 IN

Specifications

RWMA Material Type RWMA Class 1 - C15000
RWMA Taper [T] 4RW Cap Taper
Nose Type E
Overall Length [A] 1.12500
Outer Diameter [B] 0.50000
Welding Face Dia. [C] 0.188
Unit of Measure IN
Offset / Truncated Angle [D] 45.0