• MD25 CMW
  • Sketch for MD25 CMW

MD25 CMW

Part #: 2-MD25

Request 3D Model

Request 3D Model


Male caps are a cost effective solution for automated environments because the caps can be changed quickly when the face wears out. The design has superior water flow properties compared to female caps. Thus, males are an ideal choice for high heat applications.

RMWA Class 2 (C18200) material - a copper, chromium material recommend for high production operations spot welding hot or cold rolled steels, galvanized and coated materials.

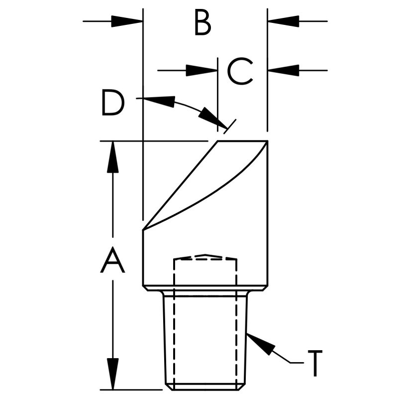
  • The overall length is 1.2500 IN
  • The outside diameter is 0.625 IN
  • The part mounts via a 5RW cap taper which is suitable for weld forces ranging between 800 to 1500 pounds of force.
  • The D nose or Offest face tip is used for welds in tight spaces typically on a flange or tight corner. It reqiures manual orientation during setup.
  • The weld face is 0.25 IN

Specifications

RWMA Material Type RWMA Class 2 - C18200
RWMA Taper [T] 5RW Cap Taper
Nose Type D
Overall Length [A] 1.25000
Outer Diameter [B] 0.62500
Welding Face Dia. [C] 0.25
Unit of Measure IN
Offset / Truncated Angle [D] 40.0

Notice for California Residents

WARNING: Cancer and Reproductive Harm WARNING: Cancer and Reproductive Harm www.p65warnings.ca.gov