• MPGD244-3001 CMW
  • Sketch for MPGD244-3001 CMW

MPGD244-3001 CMW

Part #: 2-MPGD244-3001

Request 3D Model

Request 3D Model


Female caps are a cost effective solution for automated environments because the caps can be quickly changed when the face wears out. Female caps are the most economical cap because they require less copper to manufacture than male caps.

RMWA Class 2 (C18200) material - a copper, chromium material recommend for high production operations spot welding hot or cold rolled steels, galvanized and coated materials.

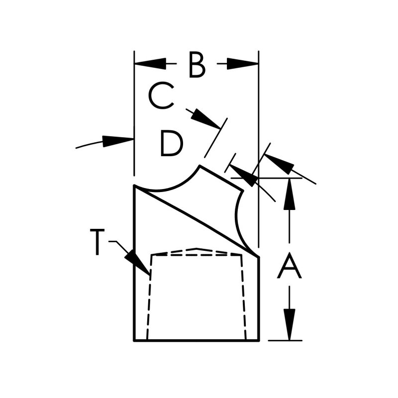
  • The overall length is 0.8400 IN
  • The outside diameter is 0.500 IN
  • The part mounts via a 4RW cap taper which is suitable for weld forces ranging between 200 to 800 pounds of force.
  • The G nose is a patented design for welding galvanized steels. It does not stick on the first weld and increases tip life by 10 times before redressing by rolling away the brassing on the weld face. The GCAP also consumes up 25% less electric power. (Patents 19,954,687; 5,015,816; 5,126,528)
  • The weld face is 0.25 IN
  • The engagement angle is 30 Degrees

Specifications

RWMA Material Type RWMA Class 2 - C18200
RWMA Taper [T] 4RW Cap Taper
Nose Type G
Overall Length [A] 0.84000
Outer Diameter [B] 0.50000
Welding Face Dia. [C] 0.25
Unit of Measure IN
Nose Engagement Angle [D] 30.0

Notice for California Residents

WARNING: Cancer and Reproductive Harm WARNING: Cancer and Reproductive Harm www.p65warnings.ca.gov