• MPA25Z-03 CMW
  • Sketch for MPA25Z-03 CMW

MPA25Z-03 CMW

Part #: 2-MPA25Z-03

Request 3D Model

Request 3D Model


Female caps are a cost effective solution for automated environments because the caps can be quickly changed when the face wears out. Female caps are the most economical cap because they require less copper to manufacture than male caps.

RMWA Class 2 (C18150) is a copper, chromium, zirconium material recommend for spot welding hot or cold rolled steels. It is often used for galvanized and coated material.

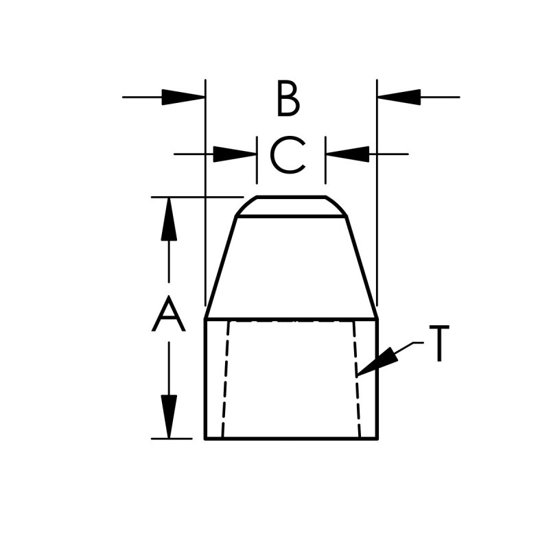
  • The overall length is 20.0000 MM
  • The outside diameter is 16.000 MM
  • The part mounts via a 1:10 Metric-ISO 5821 type taper which is the standard in Europe.
  • The A nose or Pointed face tip is a general purpose weld face suitable for most spot welding applications.
  • The weld face is 6 mm radius

Specifications

RWMA Material Type RWMA Class 2 - C18150
RWMA Taper [T] 1:10
Nose Type A
Overall Length [A] 20.00000
Outer Diameter [B] 16.00000
Welding Face Dia. [C] 6 mm radius
Unit of Measure MM